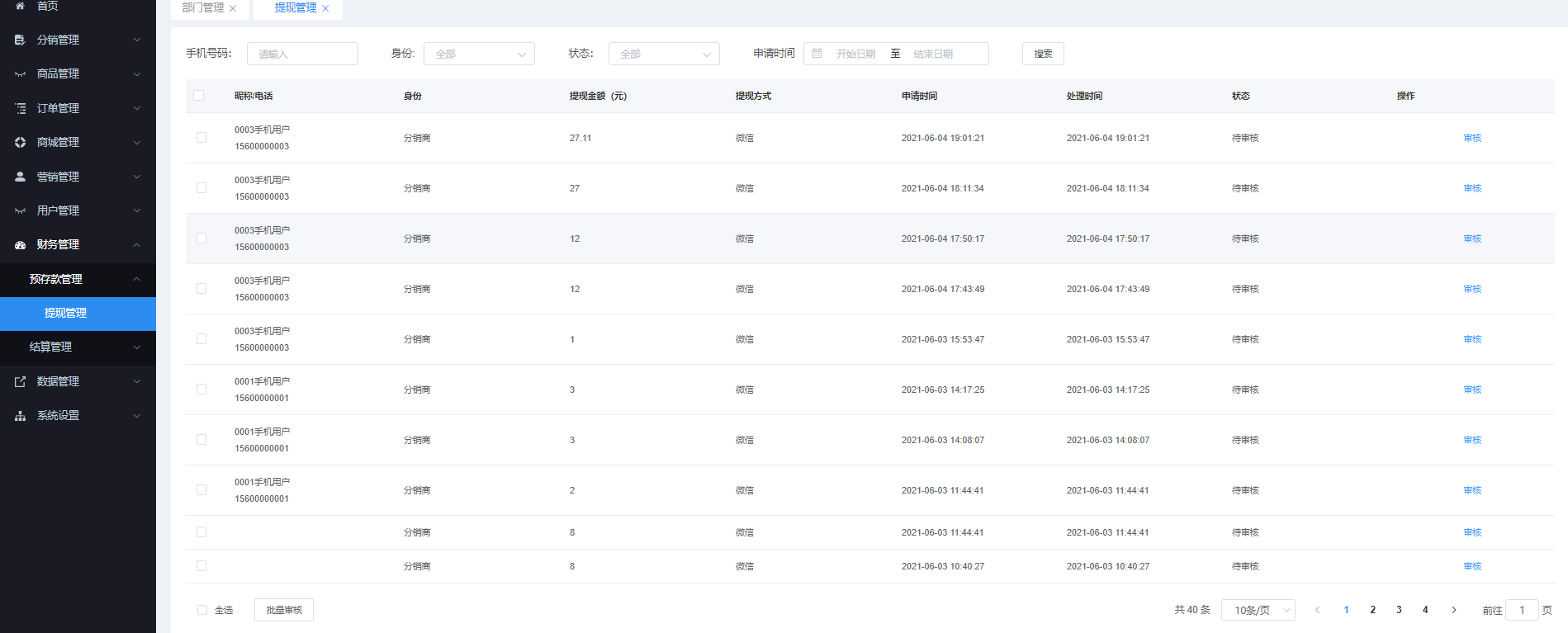
1.预存款管理——提现管理

管理所有审核提现的信息,可通过手机号码、身份、状态、申请时间进行搜索。可对申请提现信息进行审核

 

 

2.结算管理

(1)结算档期

该页面管理展示所有商家的结算账单,可根据“结算档期”、“档期时间”搜索,可点击“查看”账单数据

(2)结算账单

该页面管理展示所有商家的账单,可根据“结算档期”、“档期单号”搜索可,能导出报表数据。点击“查看”账单数据

 

(3)平台资金明细

改页面能查看走资金的收入及支出可通过 收支类型、交易类型、记录时间搜索 可导出数据

 

审核账单:查看-账单无误,确认审核